NITRIDE SEMICONDUCTOR TEMPLATE AND METHOD FOR MANUFACTURING SAME
Number of patents in Portfolio can not be more than 2000
United States of America Patent
Stats
-
N/A
Issued Date -
N/A
app pub date -
Feb 8, 2016
filing date -
Feb 25, 2015
priority date (Note) -
Published
status (Latency Note)
![]() |
A preliminary load of PAIR data current through [] has been loaded. Any more recent PAIR data will be loaded within twenty-four hours. |
PAIR data current through []
A preliminary load of cached data will be loaded soon.
Any more recent PAIR data will be loaded within twenty-four hours.
![]() |
Next PAIR Update Scheduled on [ ] |

Importance
|
US Family Size
|
Non-US Coverage
|
Abstract
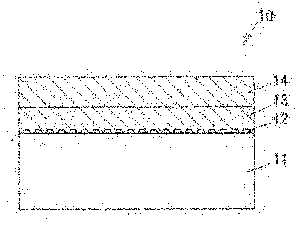
A nitride semiconductor template includes a Ga2O3 substrate, a buffer layer formed on the Ga2O3 substrate and including AlN as a principal component, a first nitride semiconductor layer formed on the buffer layer and including AlxGa1-xN (0.2
The template below is formatted to ensure compatibility with our system.
Mandatory Fields * - 'MatterType','AppType','Country','Title','SerialNo'.
Acceptable Date Format - 'MM/DD/YYYY'.
Acceptable Filing/App Types - Acceptable Status - Acceptable Matter Types - Recipient Email Address Recipient Email Address Comment Recipient Email Address Success E-mail has been sent successfully. Failure Some error occured while sending email. Please check e-mail and try again!
To add this patent to one, or more, of
your portfolios, simply click the add button. This Patent is in these Portfolios: Add to additional portfolios: Last Refreshed On:
Changes done successfully
Please note there is up to 60 days of latency in this Status indicator for certain status conditions. You can obtain up-to-date Status indicator readings by ordering PAIR for the file. An application with the status "Published" (which means it is pending) may be recently abandoned, but not yet updated to reflect its abandoned status. However, an application filed less than one year ago is unlikely to be abandoned. A patent with the status "Granted" may be recently expired, but not yet updated to reflect its expired status. However, it is highly unlikely a patent less than 3.5 years old would be expired. An application with the status "Abandoned" is almost always current, but there is a small chance it was recently revived and the status not yet updated. This priority date is an estimated earliest
priority date and is purely an estimation. This date should not be
taken as legal conclusion. No representations are made as to the
accuracy of the date listed. Please consult a legal professional
before relying on this date.
We are sorry but your current selection exceeds the maximum number of portfolios (0) for this membership level. Upgrade to our Level for up to -1 portfolios!.
First Claim
Family
Patent Owner(s)
Patent Owner Address RIKEN 2-1 HIROSAWA WAKO-SHI SAITAMA 3510198 ?3510198 TAMURA CORPORATION 1-19-43 HIGASHI-OIZUMI NERIMA-KU TOKYO 1788511 ?1788511 International Classification(s)
Inventor(s)
Inventor Name
Address
# of filed Patents
Total Citations
HIRAYAMA, Hideki
Saitama, JP
90
670
IIZUKA, Kazuyuki
Tokyo, JP
33
311
KURAMATA, Akito
Tokyo, JP
22
350
MORISHIMA, Yoshikatsu
Tokyo, JP
11
147
Cited Art Landscape

Patent Citation Ranking
Forward Cite Landscape

Maintenance Fees
Fee
Large entity fee
small entity fee
micro entity fee
due date
7.5 Year Payment
$3600.00
$1800.00
$900.00
Aug 1, 2025
11.5 Year Payment
$7400.00
$3700.00
$1850.00
Aug 1, 2029
Fee
Large entity fee
small entity fee
micro entity fee
Surcharge - 7.5 year - Late payment within 6 months
$160.00
$80.00
$40.00
Surcharge - 11.5 year - Late payment within 6 months
$160.00
$80.00
$40.00
Surcharge after expiration - Late payment is unavoidable
$700.00
$350.00
$175.00
Surcharge after expiration - Late payment is unintentional
$1,640.00
$820.00
$410.00
Full Text
Legal Events
Matter Detail
Update Public Data
Dismiss
Edit
Save
Renewals Detail
Edit
Save
Note
Provide tags with | separated like (tags1|tags2).
Maximum length is 128 characters for Customer Application No
Advertisement
Advertisement
Advertisement
PAIR load has been initiated
A preliminary load of cached data will be loaded soon.
Current PAIR data will be loaded within twenty four hours.
File History PDF
Thank you for your purchase! The File Wrapper for Patent Number
20180033907 will be available within the next 24 hours.
Add to Portfolio(s)
Important Notes on Latency of Status data
Important
Note on Priority Date data
