Heating furnace using self-calibration mode
Number of patents in Portfolio can not be more than 2000
United States of America Patent
Stats
- 
		
		
			
		Sep 15, 2020
		
			
			
Grant Date - 
		
		
			
		Jul 27, 2017
	
		
		
app pub date - 
		
		
			
		Jan 26, 2016
		
	
		
		
filing date - 
	
	 
		
	Jan 26, 2016
	
	
		
		
priority date (Note) - 
		
		In Force
		
			
			
status (Latency Note) 
![]()  | 
						
							 A preliminary load of PAIR data current through [] has been loaded. Any more recent PAIR data will be loaded within twenty-four hours.  | 
					
PAIR data current through []
A preliminary load of cached data will be loaded soon.
Any more recent PAIR data will be loaded within twenty-four hours.
![]()  | 
						
							 Next PAIR Update Scheduled on [ ]  | 
					

Importance
		| 
                US Family Size
                
                 | 
            
                
                Non-US Coverage
                 | 
        
Abstract
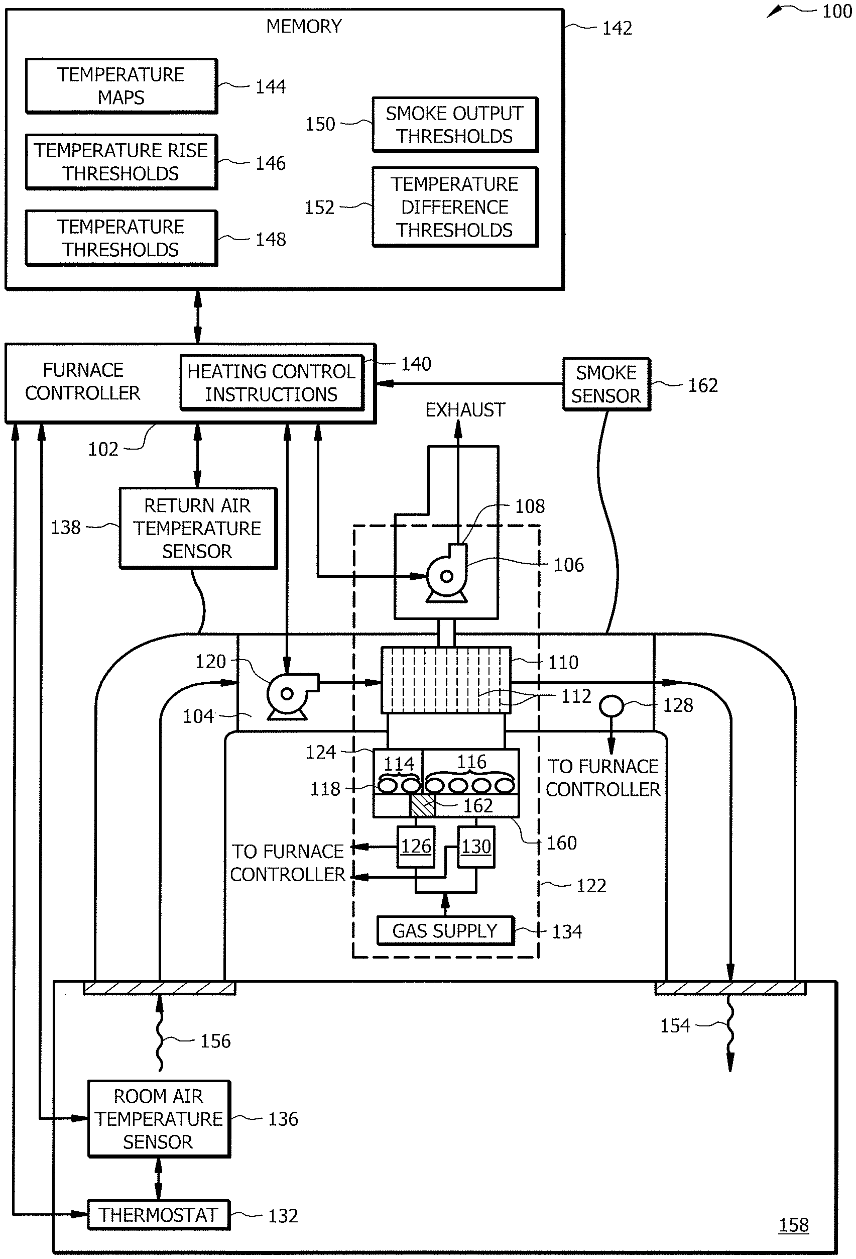
A heating control method includes determining a first speed for an air circulation fan that corresponds with a temperature set point using a temperature map that maps temperatures to speeds of the air circulation fan and operating the air circulation fan at the first speed and a heating unit in a first configuration with at least one active burner from a plurality of burners where less than all of the burners are active when the heating unit is in the first configuration. The method further includes measuring a first temperature while operating the air circulation fan at the first speed, determining a temperature difference between the first temperature and the temperature set point, comparing the temperature difference to a temperature difference threshold, and updating the temperature map to map the first speed to the first temperature when the temperature difference is greater than the temperature difference threshold.
				
			First Claim
						
					
Family
						- 15 United States
 - 10 France
 - 8 Japan
 - 7 China
 - 5 Korea
 - 2 Other
 
Patent Owner(s)
| Patent Owner | Address | |
|---|---|---|
| LENNOX INDUSTRIES INC | 2140 LAKE PARK BLVD RICHARDSON TX 75080 | 
International Classification(s)
Inventor(s)
| Inventor Name | Address | # of filed Patents | Total Citations | 
|---|---|---|---|
| Beste, Mark G | Grapevine, US | 9 | 52 | 
| Perez, Eric M | Hickory Creek, US | 10 | 65 | 
| Schneider, Steven | Plano, US | 29 | 327 | 
Cited Art Landscape
- No Cited Art to Display
 

Patent Citation Ranking
Forward Cite Landscape
- No Forward Cites to Display
 

Maintenance Fees
| Fee | Large entity fee | small entity fee | micro entity fee | due date | 
|---|---|---|---|---|
| 7.5 Year Payment | $3600.00 | $1800.00 | $900.00 | Mar 15, 2028 | 
| 11.5 Year Payment | $7400.00 | $3700.00 | $1850.00 | Mar 15, 2032 | 
| Fee | Large entity fee | small entity fee | micro entity fee | 
|---|---|---|---|
| Surcharge - 7.5 year - Late payment within 6 months | $160.00 | $80.00 | $40.00 | 
| Surcharge - 11.5 year - Late payment within 6 months | $160.00 | $80.00 | $40.00 | 
| Surcharge after expiration - Late payment is unavoidable | $700.00 | $350.00 | $175.00 | 
| Surcharge after expiration - Late payment is unintentional | $1,640.00 | $820.00 | $410.00 | 
Full Text
							Legal Events
							Matter Detail
						
						Update Public Data
						Dismiss
						Edit
						Save
						Renewals Detail
						Edit
						Save
						Note
The template below is formatted to ensure compatibility with our system.
							Provide tags with | separated like (tags1|tags2).
							Maximum length is 128 characters for Customer Application No 
							
Mandatory Fields * - 'MatterType','AppType','Country','Title','SerialNo'.
Acceptable Date Format - 'MM/DD/YYYY'.
Acceptable Filing/App Types -
- Continuation/Divisional
 - Original
 - Paris Convention
 - PCT National
 - With Priority
 - EP Validation
 - Provisional Conversion
 - Reissue
 - Provisional
 - Foreign Extension
 
Acceptable Status -
- Pending
 - Abandoned
 - Unfiled
 - Expired
 - Granted
 
Acceptable Matter Types -
- Patent
 - Utility Model
 - Supplemental Protection Certificate
 - Design
 - Inventor Certificate
 - Plant
 - Statutory Invention Reg
 
Advertisement
Advertisement
Advertisement
		Recipient Email Address
Recipient Email Address
Comment
Recipient Email Address
Success
E-mail has been sent successfully.
Failure
Some error occured while sending email. Please check e-mail and try again!
PAIR load has been initiated
A preliminary load of cached data will be loaded soon. Current PAIR data will be loaded within twenty four hours.
File History PDF
Thank you for your purchase! The File Wrapper for Patent Number 10775053 will be available within the next 24 hours.
Add to Portfolio(s)
To add this patent to one, or more, of your portfolios, simply click the add button.
This Patent is in these Portfolios:
Add to additional portfolios:
			Last Refreshed On:
Changes done successfully
Important Notes on Latency of Status data
Please note there is up to 60 days of latency in this Status indicator for certain status conditions. You can obtain up-to-date Status indicator readings by ordering PAIR for the file.
An application with the status "Published" (which means it is pending) may be recently abandoned, but not yet updated to reflect its abandoned status. However, an application filed less than one year ago is unlikely to be abandoned.
A patent with the status "Granted" may be recently expired, but not yet updated to reflect its expired status. However, it is highly unlikely a patent less than 3.5 years old would be expired.
An application with the status "Abandoned" is almost always current, but there is a small chance it was recently revived and the status not yet updated.
Important Note on Priority Date data
This priority date is an estimated earliest priority date and is purely an estimation. This date should not be taken as legal conclusion. No representations are made as to the accuracy of the date listed. Please consult a legal professional before relying on this date.
We are sorry but your current selection exceeds the maximum number of portfolios (0) for this membership level. Upgrade to our Level for up to -1 portfolios!.

